Словесный понос

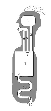
1 — мыслегенератор
2 — мыслительный канал
3 — топка
4 — ротовое отверстие
5 — ротовая полость
6 — пищевод
7 — слововод
8 — привратник слововода
9 — привратник кишковода
10 — кишковод
11 — анальная полость
12 — анальное отверстие
Словесный понос — нарушение работы привратника слововода, приводящее к повышенному словоизвержению человека. Изложим, схематично, общий принцип производства речи.
В мыслегенераторе рождаются сырые мысли. Мысли, как известно, легче воздуха, поэтому если их немного, они так и останутся в мыслегенераторе, и словообразовательного процесса не будет. Только когда их накапливается достаточно много, они спускаются вниз, по мыслительному каналу, в топку, где уже находится переваривающаяся пища. Если топка пуста, то словообразовательный процесс становится невозожен — умирающий от голода человек способен, максимум, на бессвязное бормотание. В топке мысли связываются с пищей, тем самым превращаясь в слова. Даже после связывания, они по-прежнему остаются легче воздуха, и уж тем более легче еды, поэтому они всплывают в верхнюю часть топки. Привратник кишковода служит для того, чтобы вся пища не могла сразу уйти в кишковод — пища смешивается с желудочным соком (он тяжёлый), и когда её набирается достаточно много, под её давлением привратник ненадолго отворяется и пропускает часть пищи. Аналогично действует и привратник слововода. Когда готовых слов набирается достаточно много — привратник слововода отворяется под их давлением, их пропускает часть слов вверх, которые тем самым и образуют связное предложение.
Если привратник кишковода слабеет — это приводит к тому, что слишком много пищи проходит разом в кишковод, она не успевает всё впитать, и значительная её часть выходит в жидком виде через анальное отверстие, иначе говоря у человека начинается понос. Аналогично, когда слабеет привратник слововода, он не может сдерживать слова, и они выходят через рот непрерывным потоком, не образуя никаких предложений (точнее предложения сливаются вместе в сплошной бред). В этом случае говорят, что у человека словесный понос.
Для лечения словесного поноса можно принять укрепительное, но это может привести к нежелательным побочным эффектам. Лекарство действует сразу на оба привратника, поэтому у человека может случиться запор, а в худшем случае, топка переполнится едой, и она начнёт выливаться через рот, приводя к так называемой рвоте. Поэтому лучше сразу обращаться к доктору. Так же следует проводить дифференциальный диагноз словесного поноса с фимозгом и баклонопоцтитом.